1
/
av
1
Share
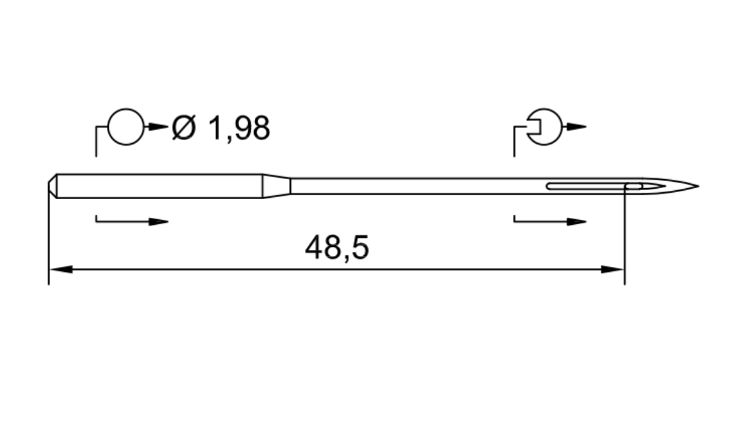
Symaskinsnålar 332 LG 120
Symaskinsnålar 332 LG 120
Lagerhållningsenhet:332 LG 120
Ordinarie pris
80.00 SEK
Ordinarie pris
Försäljningspris
80.00 SEK
Enhetspris
/
per
Frakt beräknas i kassan.
Det gick inte att ladda hämtningstillgänglighet
