1
/
av
1
Share
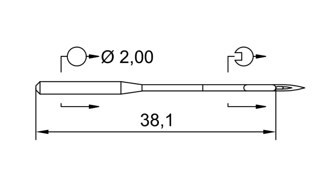
Symaskinsnålar 134-35 LR 130
Symaskinsnålar 134-35 LR 130
Lagerhållningsenhet:134-35 LR 130
Ordinarie pris
60.00 SEK
Ordinarie pris
Försäljningspris
60.00 SEK
Enhetspris
/
per
Frakt beräknas i kassan.
Det gick inte att ladda hämtningstillgänglighet
